多读书多实践,勤思考善领悟

MySQL性能优化

MySQL性能优化

一、背景在数据爆炸的年代,单表数据达到千万级别,甚至过亿的量,都是很常见的情景。这时候再对数据库进行操作就是非常吃力的事情了,select个半天都出不来数据,这时候业务已经难以维系。技术在进步虽然有了NoSQL、NewSQL数据库,但...

什么情况下需要对数据库进行分库分表分区

什么情况下需要对数据库进行分库分表分区

一、什么是分区、分表、分库分区就是把一张表的数据分成N个区块,在逻辑上看最终只是一张表,但底层是由N个物理区块组成的。 分表就是把一张表按一定的规则分解成N个具有独立存储空间的实体表。系统读写时需要根据定义好的规则得到对应的字表明,然...

龙芯硬件平台使用源码安装mysql8.0

龙芯硬件平台使用源码安装mysql8.0

一、下载源码这里官网给出了两种版本,一个是带boost一个是不带的,这次先尝试编译带boost库的mysql Mysql官网下载地址 Product Version: 8.0.24 Operating System: Source C...

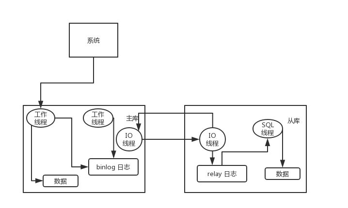
高并发系统之 六.如何实现MySQL的读写分离?

高并发系统之 六.如何实现MySQL的读写分离?

如何实现 MySQL 的读写分离?其实很简单,就是基于主从复制架构,简单来说,就搞一个主库,挂多个从库,然后我们就单单只是写主库,然后主库会自动把数据给同步到从库上去。 MySQL 主从复制原理的是啥?主库将变更写入 binlog 日...